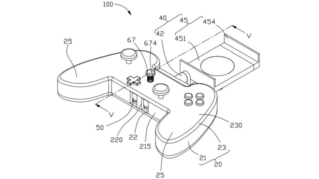
Oppo Guangdong Mobile Communications Ltd. has published a new patent on March 9th. This patent is named “gaming controller,” and the application date is September 2019, as reported by ITHome. This report also has a picture of how the controller might look like if it comes out. The gaming controller looks like the regular Xbox controller with a mobile holder on the top and two slots at the bottom.
Oppo hasn’t officially confirmed about making a new gaming controller. This makes the news unclear of whether the Mobile Gaming Controller might come or not. The controller has a D-pad, two analog sticks, and five buttons. The analog sticks are just like the Xbox controller miss-aligned. On the top of the controller is a mobile phone holder. This holder is in such a position that it holds the phone’s middle when the phone is placed horizontally. This allows users to charge their phone while playing or even use a headphone jack(if it is present).
Until now, it looks like a typical gaming controller that is already present in the market. So, the specialty of Oppo’s Mobile Gaming Controller is present at the controller’s bottom. The bottom of the controller has two slots that can store earphones. Yes, they can keep TWS earbuds in the slots in them. There is no confirmation whether the slots will charge the earbuds when not in use or not.
The center button in the picture looks like a power button like the Xbox and PS controllers. As there is no official confirmation from the company, all these will be assumptions. We have to wait and see for the functionality, compatibility, and usability.
So that’s been it. Thank you for reading, and do share the article if you get a bit piece of information. Also, keep an eye on this space for more relevant updates. Stay safe, and we hope to see you around.
